Apple จดทะเบียนกล้องบน iPhone รุ่นในอนาคต จะถ่ายภาพได้ดีขึ้น กล้องบางลง
ผู้ผลิตสมาร์ทโฟนชั้นนำหลายค่าย ต่างแข่งขันกันในเรื่องการถ่ายภาพ เพราะผู้ใช้สมาร์ทโฟนส่วนใหญ่จะเลือกใช้สมาร์ทโฟนจากเรื่องกล้องเป็นปัจจัยอันดับต้นๆ เสมอ เช่นเดียวกับ Apple ครับ ที่ล่าสุดมีข้อมูลการจดทะเบียนการออกแบบกล้องถ่ายภาพบนไอโฟนรุ่นใหม่ในอนาคตออกมาแล้ว

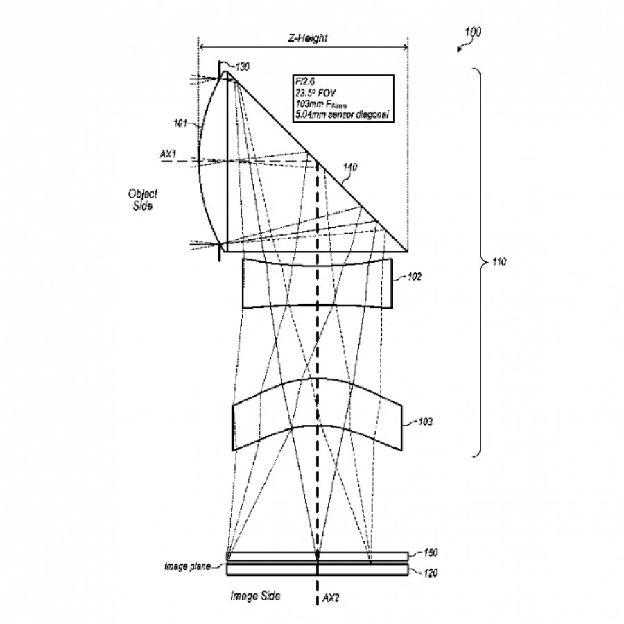
จากข้อมูลมีการพูดถึงกล้องแบบใหม่ที่มีระบบ Folded lens system คือเป็นเลนส์ 3-5 ชิ้น ที่ใช้การสะท้อนแสงแทนการวางเลนส์เรียงกันตรงๆ ซึ่งจะช่วยให้ตัวกล้องถ่ายภาพได้สวย โดยไม่ต้องนูนออกมามากเกินไป รวมถึงจะสามารถทำงานร่วมกับระบบกล้องต่างๆ อย่างเช่น ระบบกันสั่น optical image stabilizer หรือพวก Autofocus ต่างๆ ได้ดียิ่งขึ้นเพราะมีพื้นที่มากขึ้นนั่นเอง
ลองชมภาพดีไซน์ที่ Apple จดทะเบียนไว้ด้านล่างนี้เลยครับ


การวางชิ้นส่วนกล้องแบบนี้ คล้ายกับระบบ periscope ที่ใช้อยู่บน Oppo Reno 10X Zoom หรือ Huawei P30 Pro ที่เปิดตัวไปแล้วครับ แต่ระบบกล้องใหม่บนไอโฟนนี้ จะมาพร้อมกับ iPhone 12 หรือไม่ ต้องรอติดตามกันต่อไปครับ ตอนนี้ข้อมูลยังไม่เยอะครับ ถ้ามีเพิ่มเติมจะรีบรายงานให้ทราบเลยครับ
source: gsmarena