
หน้าจอของสมาร์ทโฟนแท็บเล็ตนี้แทบจะติดตัวเราไปอยู่ทุกที่แล้วนะครับซึ่งมองไปทางไหนก็แทบจะหนีไม่พ้นอะไรที่เป็นหน้าจอเลยอย่างเช่นในรถทุกวันนี้ก็ได้พัฒนาให้เป็นหน้าจอแบบสัมผัสได้ซึ่งมากกว่านั้นก็จะเป็นกลุ่มของเครื่องเสียงที่เป็นจอ Android บางรุ่นที่เรือนไมล์ก็ยังใช้เป็นจอเหมือนกันแทบจะไม่มีเข็มอะไรให้ได้เห็นแล้วนะครับแต่ว่าล่าสุด Hyundai ได้เข้าจดสิทธิบัตรพวงมาลัยที่มีจอเป็นที่เรียบร้อยแล้ว
.png)
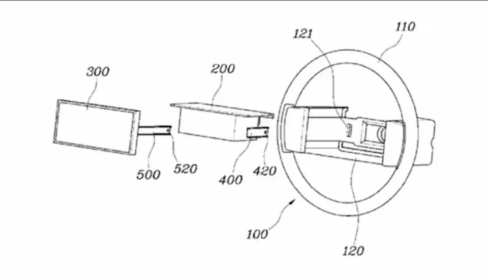
โดยผู้ผลิตรถยนต์ชาวเกาหลีใต้เพิ่งจะยื่นขอสิทธิบัตรเพิ่มหน้าจอเข้าไปอยู่ที่พวงมาลัยซึ่งมันไม่ใช่เป็นแค่จอแสดงผลเล็กๆนะครับมันเป็นการวางเข้าไปตรงกลางของพวงมาลัยแล้วมีขนาดที่ค่อนข้างใหญ่อยู่พอสมควรซึ่งในจุดนี้มันก็น่าคิดนะครับว่านี่จะเป็นการปฏิวัติวงการรถยนต์อีกครั้งหนึ่งหรือไม่?

แต่สิ่งนี้ก็ไม่ใช่เรื่องใหม่นะครับเพราะก่อนหน้านี้คุณใดได้เคยใช้แนวคิด Virtual Cockpit Study ในปี 2019 ซึ่งพวกเขาใช้หน้าจอสัมผัสที่มีขนาดประมาณนึงอยู่ที่มุมของพวงมาลัยเพื่อใช้แทนเป็นปุ่มโดยเราสามารถเซฟหน้าจอตรงนั้นว่าจะให้มาทำงานแทนปุ่มอะไรก็ได้ซึ่งมันเป็นแนวคิดที่ดีนะครับเพราะว่าบางคนอาจจะไม่ได้อยากได้ปุ่มบางปุ่มนี้อยู่บนพวงมาลัยแล้วเราสามารถเซ็ตปุ่มได้เองทำให้การใช้งานนั้นยืดหยุ่นมากขึ้น

กลับมาพูดที่สิทธิบัตรใบล่าสุดที่ทาง Hyundai ได้ขอไปนะครับตอนนี้ยังไม่มีรายละเอียดที่เจาะจงมากกว่านี้มีเพียงข้อมูลที่บอกว่ามันจะเป็นจอแสดงผลที่ติดอยู่บนพวงมาลัยเท่านั้นโดยสำนักข่าวต่างประเทศนั้นคาดเดาว่ามันอาจจะทำหน้าที่แทนจอเรือนไมล์ที่ใช้กันอยู่ในปัจจุบันนี้ก็เป็นได้ ไปอีกคำถามนึงที่ตามมานะครับก็คือถ้าเอาจอไปไว้บนพวงมาลัยแล้วถุงลมนิรภัยที่พวงมาลัยล่ะมันจะเป็นยังไงคำตอบอยู่ในสิทธิบัตรนั้นครับเขาบอกว่าถุงลมนิรภัยก็จะอยู่ตรงที่เดิมของมันถึงจุดนี้เราพอจะตีความได้ว่ามันอาจจะมีความเป็นไปได้ว่าตัวหน้าจอนี้อาจจะเด้งออกไปในทิศทางใดทิศทางหนึ่งเพื่อหลีกทางให้กับถุงลมนิรภัยในเวลาที่มันต้องระเบิดออกมาซึ่งถ้าเขาคิดมาไม่ดีแล้วก็เวลาที่ถุงลมนิรภัยระเบิดไอ้จอตัวนี้ล่ะครับมันจะพุ่งเข้าใส่หน้าของผู้ขับขี่อย่างแน่นอนแต่ผมเชื่อว่าระดับผู้ผลิตเขาน่าจะคิดมาดีในระดับนึงแล้วแน่นอน
แต่สิ่งที่ผมอดสงสัยไม่ได้นั่นก็คือทำไมพวกเขาต้องย้ายจอเรือนไมล์มาไว้บนพวงมาลัยแทนหรืออาจจะอยากให้ตัวคอนโซลหน้ารถดูสะอาดไม่รกตาแต่การเอามาไว้บนพวงมาลัยนั้นมันจะทำให้เป็นมิตรต่อผู้ใช้งานจริงหรืออันนี้คือเรื่องที่น่าคิดนะครับอย่างไรก็ตามเราทำได้แค่ติดตามดูกันอย่างต่อเนื่องครับว่าสุดท้ายแล้วมันจะออกมาเป็นอย่างไร
ที่มา : motor1